1. Definition of plastic pulverizer
Plastic pulverizer is plastic machinery, which produces plastic powder from plastic flakes. It makes the plastic cut and grinds by the narrow gap in the high-speed rotary blades and stationary blades. It can be used for PVC, PE, PC, PA, ABS and other materials without calcium powder.
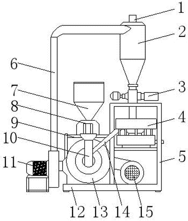
2. Mechanical structure of plastic pulverizer

1-Pulse precipitator air outlet 2-Dust catcher with impulse 3-Rotary valve
4-Vibrating screen 5-Vibrating screen frame 6-Air conveying
7-Hopper 8-Feeding device 9-Hopper frame
10-Feeding inlet 11-Suction device 12-Main frame
13-Grinding chamber 14-Recycling channel 15-Main motor
3. Types of plastic pulverizer
According to the structure of the blade, it classified as: knife disc pulverizer and grind disc pulverizer.
4. Features of plastic pulverizer
4.1 High output, low energy consumption, energy conservation and efficiency.
4.2 Wide application range, it can be used in PVC, PE, PC, PA, ABS materials without calcium powder, also can be used in rubber, plant fiber.
4.3 The grinding process seal, small pollution and environmental protection.
4.4 The machine structure is simple, easy to install and maintain.
4.5 With a special grinding chamber structure, the particle size of grinding powder can be adjusted.
4.6 It adopts an air-cooling, water-cooling way, so that the material is not easy to denaturation.
4.7 Compact structure and small floor space.
4.8 The pulverizer is all steel structure integration, firm and stable.
4.9 The main cover door can open, convenient for cleaning and maintenance.
5. Working principle of plastic pulverizer
The basic working principle of the pulverizer is that the spindle is driven by the motor to rotate at high-speed, and the spindle drives the rotary blade to rotate, forming a relative movement with the stationary blades, and the materials collide violently in their narrow space, which is cut into powder, and then transported by the fan into the vibrating screen for screening and collection.
6. Common faults of plastic pulverizer
6.1 Occlusal abrasion
Bite wear, is the machine parts adhere to wear, at this time between the relevant parts out a greater friction phenomenon, the common is the roller and bite often appear this situation.
- Reason: not lubricated or lubrication is improper, grinding machine parts under normal circumstances is smooth contact, even if some places have some uneven phenomenon, under the action of lubricating oil will not have any impact on the machine. But, if without lubricating oil, in some parts of the rough surface, because the contact surface is small, the force is large, the resistance is large, causing more surface wear to the parts until the wear. And the original oxidation film on the surface of the parts will also be damaged, a fresh surface, so that the surface in the active state of metal atoms directly interact with each other, resulting in the adhesion point, when the mill continues to move, the adhesion point material from a surface to another surface.
(2) Treatment method: add lubricating oil and maintain the equipment regularly.
6.2 The bearings are badly worn.
6.2.1 Improper installation
There are two main reasons as follows:
- The installation is not in place;
(2) Use violent installation, such as hammer percussion and other forced installation, resulting in bearing deformation.
6.2.2 poor lubrication
There are main points as follows:
- No filling or not filling lubricating oil in time;
- Lubricating oil filling is not in place;
- Improper selection of lubricating oil;
- Inaccurate lubrication method.
6.2.3 Bearing contamination
Mainly refers to the dust, metal, etc. into the bearing interior.
The main reasons are as follows:
- Opening the bearing package prematurely causes the external material to enter;
- The poor working environment of the pulverizer leads to pollution.
6.2.4 fatigue wear
Such problems are mainly manifested as follows:
- Bearing overload operation for a long time;
- Failure to timely maintain;
- Equipment aging.
6.3 Substandard output
6.3.1 Poor ventilation in the pulverizer
In general, when the pulverizer work, because the high-temperature grinding room will produce water vapor, if the ventilation is not good, water vapor can not be discharged in a timely manner, will lead to paste materials, thus reducing production.
6.3.2 Pulverizer “full grinding”
When the pulverizer output is lower and lower, we should first consider whether there is a “full grinding”, which is the main culprit affecting the pulverizer output.
The causes of “full grinding” are as follows:
- too much feeding;
- The hardness and particle size of the grinding material become harder and larger;
- Too much water in the grinding material.
Solutions to the problem of “full grinding”:
- reduce the amount of feeding;
- When there is a change in the size or hardness of the grinding material, it should be timely adjusted accordingly;
- Adjust the moisture into the grinding material;
- Increase the ventilation of the mill barrel.
7. Routine maintenance
7.1 Inspect vulnerable areas at regular intervals to see how worn they are and replace them promptly.
7.2 Check whether all parts of the machine are normal before and after daily work.
7.3 During production, pay attention to the uniform feeding, do not have large materials, so as to avoid blocking.
7.4 When the machine is running, if the gear makes an abnormal impact sound, stop it immediately for an inspection.
7.5 The tire part is easy to lose and should be checked frequently.
7.6 The machine should be cleaned daily, dusted and lubricated regularly to ensure the reliability of operation.


