
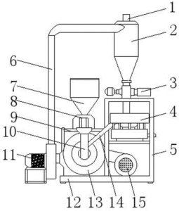
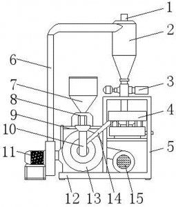
What is the tearing machine ?
What is the tearing machine? Recently, a lot of people consult me how to crush the big size pipes. I find that it does difficult to recycle big size pipes, profiles after I look into data. So I want to introduce a new machine to everyone, which is designed by our company and called pipe tearing machine. 1.1 What is the pipe tearing machine? This machine is used to shred and crush big size pipes, profiles directly. The purpose of producing this machine is that it can convenient to shred those big




















































